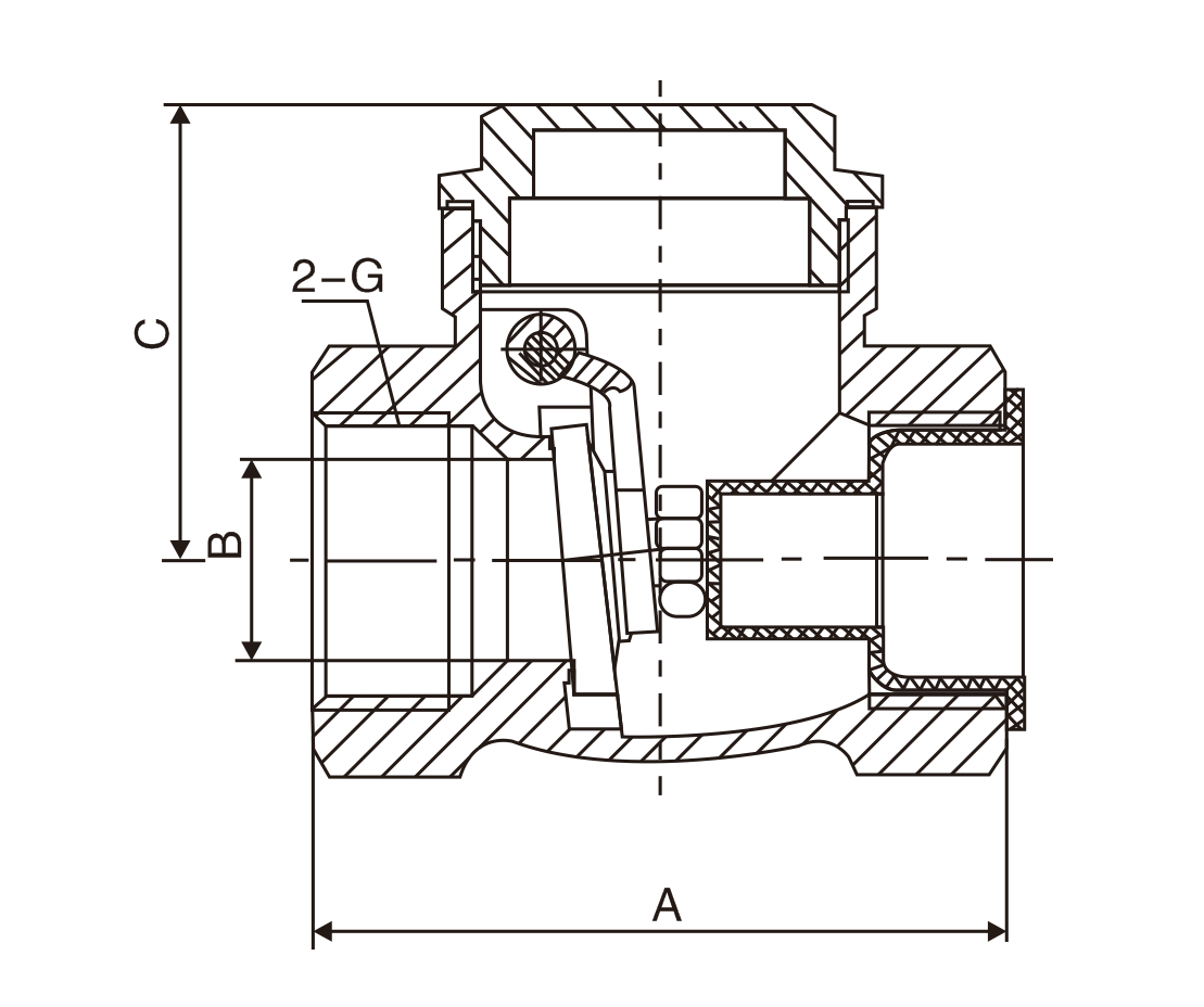
主要外形尺(chi)寸
|
DN(mm) |
NPS(in) |
A |
B |
C |
G |
SW
|
|
15 |
1/2 |
48 |
13 |
34 |
1/2 |
26
|
|
20 |
3/4 |
58 |
18 |
40.5 |
3/4 |
32 |
|
25 |
1 |
65.5 |
21 |
46 |
1 |
40 |
|
32 |
11 / 4 |
71 |
28 |
51.5 |
48 | |
|
40 |
12 |
83 |
57.5 |
11 2 |
54 | |
|
50 |
2 |
95 |
41 |
68.5 |
2 |
66.5 |
|
65 |
2/
2
|
54 |
85.5 |
21 / 2 |
83 | |
|
80 |
3 |
75 |
95.5 |
96 | ||
|
4 |
162 |
85 |
110 |
4 |
123 |
Copyright © 2022-2023 南京博高(gāo)閥門有限公(gōng)司 版權所有(yǒu) 京ICP證000000号
蘇公(gōng)網安備 32010202011315号
蘇公(gōng)網安備 32010202011315号
網(wǎng)站建設: 豐盛(shèng)科技